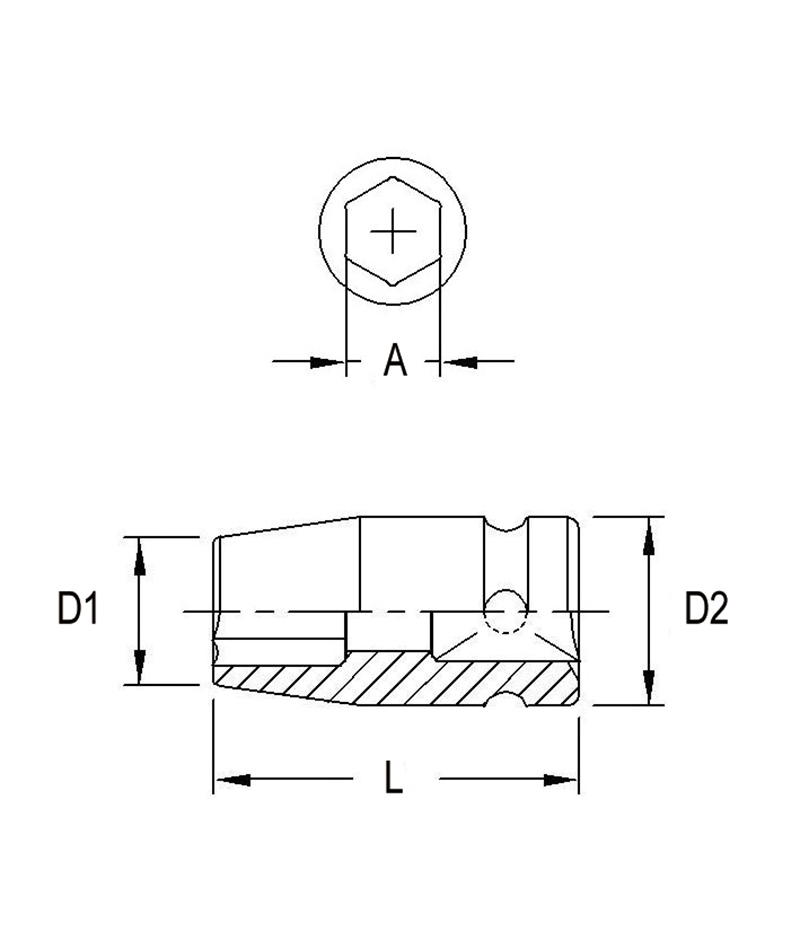
DOUILLE PERC. 3/8DR. 22MM
Catégorie:
GENIUS
Diamètre:
22mm
Diamètre D1:
32mm
Diamètre D2:
22mm
Longueur:
32mm
Standard:
PERCUSSION

